PYZ012AZUDCIPD Parts ListUpdated 3 months ago
Introduction
This article includes parts lists for the main unit and air distribution box of the PYZ012AZUDCIPD system. This system is part of the Full Inverter Rooftop RV Air Conditioner Heat Pump series.
Main Unit

| No. | Part No. | Part Name | Quantity |
|---|---|---|---|
| 1 | 3.06.04498 | Square frame sponge | 1 |
| 2 | 3.06.03257 | Hard square sponge | 12 |
| 3 | 2.3.022871 | Base pan | 1 |
| 4 | 3.03.00102 | Evaporator duct lower EPP | 1 |
| 5 | 2.2.002117 | Evaporator | 1 |
| 6 | 2.5.036709 | Metal base for PCB base | 1 |
| 7 | 2.10.000405 | Inverter PCB base | 1 |
| 8 | 3.17.00336 | Inverter PCB | 1 |
| 9 | 2.10.000406 | Inverter PCB cover | 1 |
| 10 | 2.5.036711 | Metal cover | 1 |
| 11 | 2.5.011029 | Condenser fixing strip | 1 |
| 12 | 2.4.009945 | Condenser | 1 |
| 13 | 2.5.011012 | Condenser motor mounting plate | 1 |
| 14 | 2.10.000629 | Air duct fixing plate | 1 |
| 15 | 3.2000118 | Condenser fan motor | 1 |
| 16 | 3.14.00135 | Compressor | 1 |
| 17 | 2.4.009172 | 4-way valve welding assembly | 1 |
| 18 | 2.5.036872 | Air outlet protection net | 1 |
| 19 | 2.10.000630 | Shroud | 1 |
| 20 | 2.4.009171 | Capillary assembly | 1 |
| 21 | 2.5.011014 | Evaporator fan bracket | 1 |
| 22 | 3.2000067 | Evaporator motor | 1 |
| 23 | 2.10.000645 | Evaporator fan | 1 |
| 24 | 2.5.037497 | Capacitor box cover | 1 |
| 25 | 3.15.00406 | Evaporator fan capacitor | 1 |
| 26 | 3.15.00257 | Two position terminal | 1 |
| 27 | 3.15.00749 | Condenser fan capacitor | 1 |
| 28 | 2.5.037496 | Capacitor box | 1 |
| 29 | 3.03.00103 | Evaporator duct upper EPP | 1 |
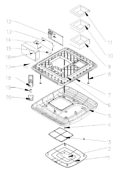
Air Distribution Box
| No. | Part No. | Part Name | Quantity |
|---|---|---|---|
| 1 | 2.10.000130 | Decorative panel | 1 |
| 2 | 3.17.00290 | Display board | 1 |
| 3 | 2.10.000132 | Filter | 1 |
| 4 | 3.09.00908 | Fixing buckle | 2 |
| 5 | 2.10.000133 | Panel | 1 |
| 6 | 2.10.000158 | Fixing plate | 1 |
| 7 | 3.16.00393 | Tape lights | 1 |
| 8 | 3.10.00682 | Long screw | 4 |
| 9 | 3.06.03265 | Duct sponge 3 | 1 |
| 10 | 3.06.03264 | Duct sponge 2 | 1 |
| 11 | 3.06.03263 | Duct sponge 1 | 1 |
| 12 | 2.5.013563 | PCB box cover | 1 |
| 13 | 3.17.00337 | Inverter main PCB | 1 |
| 14 | 2.5.013564 | Through-cable plate | 1 |
| 15 | 2.5.013565 | Maintenance plate | 1 |
| 16 | 2.5.013566 | PCB box | 1 |
| 17 | 3.15.00517 | Evaporator coil sensor | 1 |
| 18 | 3.17.00183 | Remote controller | 1 |
| 19 | 5.2.00024 | Battery | 2 |
| 20 | 2.10.000303 | Remote controller bracket | 1 |